
① Superficie deslizante
② Longitud promedio de segmentos no adheridos;
③ Tipo dispersión de fuerza de tracción;
④ Tipo dispersión de tensión;
⑤ Tipo dispersión pretensado
El anclaje de dispersión de tensión compresiva está compuesto por dos o más placas de soporte. Las placas se distribuyen uniformemente en la sección de ensanchado de fondo de la barra del anclaje. El cuerpo de lechada se monta en la barra de perforación. Las placas de soporte están colocadas uniformemente en la sección de anclaje de ensanchamiento de fondo por el jet grouting. Las placas cuentan con un anclaje de tensión que se comporta eficientemente como sección de anclaje de tensión compresiva de ensanchado de fondo bajo el efecto de la carga de tracción.
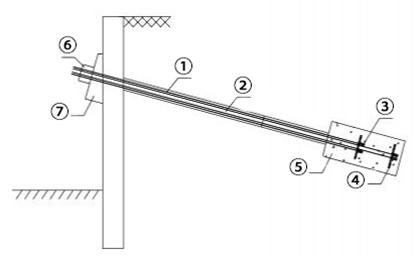
① Tendón no adherido con cable;
② Segmento libre;
③ Anclaje de fusión en caliente;
④ Placa de soporte;
⑤ Sección de anclaje;
⑥ Anclaje;
⑦ Placa de base
Diagrama de la estructura la barra de anclaje de dispersión de tensión compresiva
① Tendón no adherido con cable;
② Segmento libre;
③ Anclaje de fusión en caliente;
④ Placa de soporte;
⑤ Sección de anclaje;
⑥ Anclaje;
⑦ Placa de base
① Estructura razonable
El anclaje de tensión ordinario primeramente aplica lechada de cemento en el extremo de la barra de anclaje, posteriormente la fuerza de tracción es transmitida al mortero de cemento a través de la fuerza de sujeción circundante del anclaje. Después, la fuerza es transmitida a la zona de refuerzo de la capa de suelo estable mediante el anclaje del mortero de cemento y la fuerza de fricción entre la capa subterránea. La fuerza de tensión se transmite gradualmente desde la parte posterior del suelo de anclaje. La carga de cizallamiento a lo largo de la barra es irregular debido a su tensión centrada.
El anclaje de dispersión de tensión compresiva pertenece a la categoría de anclajes de presión. Utiliza tendones de acero no adherido para separar el refuerzo de la lechada. La tensión de tracción de la barra se transmite primeramente a la lechada con tensión compresiva la cual se aplica al fondo interior de la lechada junto a la placa de soporte. Posteriormente, la fuerza se transmite al cuerpo terrestre estable del área de anclaje a través de la resistencia final entre el cuerpo inferior de la lechada y el cuerpo de suelo circundante.
En general, la capacidad de carga de punta de la sección de suelo y del anclaje proporciona un total de 60% a 70% de la fuerza de extracción del anclaje, mientras que la fricción lateral del anclaje contribuye 30%-40% de la fuerza de extracción.
En términos de fuerzas internas, el refuerzo del anclaje transmite fuerza a la placa de soporte y posteriormente al cuerpo de lechada. La presión experimentada por el cuerpo de lechada se puede minimizar con la existencia de algunas placas de soporte de arreglo deslocalizado lo cual ayuda a incrementar el área total. Así, se previene que la lechada sea aplastada y cause daño parcial.


② Aplicabilidad resistente
El anclaje de dispersión de tensión compresiva tiene características que incluyen construcción rápida de velocidad, y gran capacidad de soporte de fuerza de tracción. Es adecuado para arcilla saturada, suelo cohesivo, suelo arenoso, etc. Además, puede usarse ampliamente en proyectos de ingeniería de anclaje como cimentación de fosas, para la construcción de estructuras que contrarrestan las fuerzas de levantamiento y soporte de taludes. Resultados estadísticos de proyectos de construcción anteriores: en arcilla saturada, el valor c es de 20kpa, el valor Φ cae dentro del rango 12°-14°, la fuerza de tracción hasta 600-900kN; en arcilla dura, la fuerza de extracción incrementa adicionalmente hasta alrededor de 700-1100kN; en suelo acuoso y arenoso, la fuerza de extracción del anclaje alcanza 600-1200kN.