Nuestros productos se fabrican principalmente conforme a las tres tecnologías descritas a continuación: anclaje inteligente, tecnología de fusión en caliente desmontable y tecnología de dispersión de tensión compresiva.

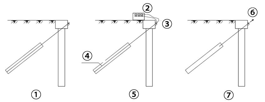
① Componentes de medición de fuerza incluidos
② Transmisión de datos transversal

Condición del talud y colector de información con el uso del anclaje inteligente
Principio
Los anclajes inteligentes incorporan el extensómetro dentro del anclaje. De esta manera, los datos se transmiten desde el extensómetro a la terminal del equipo ubicado en la oficina, o bien, en modo alámbrico o inalámbrico. Esto permite monitoreo en tiempo real y visualización remota de la capacidad de carga.
Solución de problemas
Nuestro anclaje inteligente resuelve problemas de inexactitud en la medición de fuerza, fallos para mantener la estabilidad del equipo de medición de fuerza a largo plazo, incapacidad de uso en gran escala debido a su alto costo, etc. El extensómetro está localizado al final de la sección de anclaje y envuelto en un relleno. Comparado con otros anclajes usados para la medición de la tensión, este realiza la dispersión de la presión interna a la vez que monitorea la fuerza interna de cada cordón de acero del anclaje respectivo. Además, esto permite el análisis de la distribución de la capacidad de carga entre cada unidad de anclaje de acuerdo a los resultados de medición. Nuestro extensómetro está diseñado ingeniosamente con propiedades impermeables que dan como resultado una medición de fuerza más exacta y durable. Hoy en día, este tipo de anclaje inteligente puede fabricarse en una sola operación.
Ventajas
1) Cumplimiento de monitoreo en tiempo real de la capacidad de carga del anclaje durante su operación, evitando errores del anclaje durante el proceso de producción.
2) Exactitud mayor 95%.
3) Puede utilizarse para reforzamiento permanente ya que posee una gran resistencia a la corrosión.
4) Indicado para uso en proyectos de reforzamiento temporal de fosos de cimentación y taludes.
| Producto \ factor de influencia | Anclaje inteligente | Dinamómetro convencional |
| Precisión de monitoreo | Cada cable en el anclaje | Todo el anclaje |
| Pertinencia temporal | Medición en tiempo real | Efectiva entre 1-2 años |
| Cobertura | Todos los tendones del anclaje | Tasa 3%-10% |
| Estabilidad | Alta | Alta |

① Etapa de soporte;
② Transformador;
③ Calentamiento eléctrico;
④ Desbloqueo de fusión en caliente;
⑤ Etapa de desbloqueo de fusión en caliente;
⑥ Desmantelamiento
⑦ Etapa de desmantelamiento y recuperación
Principio
La tecnología de fusión en caliente desmontable se refiere al uso del método de fusión en caliente para llevar a cabo el desmontaje y recuperación del anclaje cuando no se necesita más. Se emplea en estructuras temporales como taludes, fosas de cimentación o estructuras permanentes y contrarresta las fuerzas de levantamiento. La aplicación de esta tecnología mejora la fiabilidad del anclaje y le permite ser respetuoso con el medio ambiente.
| Producto \ Factor de influencia | Anclaje de cable de fusión en caliente desmontable | Anclaje de cable convencional desmontable |
| Coeficiente de eficiencia (factor de seguridad) | ≥90% | 50%~80% |
| Durabilidad | Efectivo por 5 years | Efectivo entre 1-2 años |
| Longitud | Transmisión eléctrica, sin influencias | Difícil de desbloquear en distancias mayores a 20m |
| Estabilidad | Impacto suave | La fuga de lechada dentro del tubo ocurre fácilmente durante la construcción. Es difícil de desbloquear. |

Principio
La tecnología de dispersión de tensión compresiva es una tecnología de anclaje de construcción que implementa aspersión rotativa de alta presión modificada y dispersión de presión para desarrollar una estructura de anclaje y método de construcción nuevos. La sección de la barra de anclaje a anclar tiene una longitud aproximada de entre 2 y 3 metros, y un diámetro de entre 0.6 y 0.8 metros. La parte interior de la sección de ensanchamiento de fondo (underreamed) y la placa de soporte están distribuidas uniformemente. La barra de anclaje proporciona la fuerza de extracción dependiendo de la sección de anclaje y la capacidad de carga final del cuerpo terrestre/masa de suelo. Esta ventaja ha incrementado efectivamente la fuerza de extracción de la barra de anclaje instalada en suelo cohesivo y suelo arenoso así como el mejoramiento de la eficiencia de construcción y calidad. Se ha aplicado en muchos proyectos en China; con esta tecnología se reducen los costos del proyecto y se incrementa la eficiencia en gran medida.

① Superficie de deslizamiento;
② Longitud promedio de segmentos no adheridos;
③ Dispersión de fuerza de arrastre;
④ Dispersión de tensión;
⑤ Dispersión de pretensado
Ventajas
①Estructura razonable
El anclaje de tensión común primeramente suministra la lechada al final de la barra de anclaje con el mortero de cemento y la fuerza tensora o de tracción del anclaje es entonces transmitida al mortero de cemento a través de la fuerza de sujeción del anclaje. Después, la fuerza se transmite a la zona de reforzamiento de la capa de suelo estable a través del anclaje de mortero de cemento y la fuerza de fricción entre la capa subterránea. La fuerza tensora se transmite gradualmente de atrás hacia adelante del suelo de anclaje. La tensión de cizallamiento a lo largo de la barra tiene distribución irregular debido a la presión centralizada.
El anclaje de dispersión de tensión compresiva pertenece a la categoría de anclajes de presión. Utiliza cables/tendones de acero no adheridos para separar el refuerzo de la lechada. La tensión de tracción de la barra se transmite primeramente a la lechada con la tensión compresiva la cual es aplicada al extremo inferior de la lechada por la placa de soporte. Posteriormente, la fuerza es transmitida al cuerpo terrestre estable del área de anclaje a través de la resistencia final entre el cuerpo de la lechada de fondo y el cuerpo terrestre circundante.
En general, la capacidad de soporte del suelo y la sección del anclaje brinda un total de 60% a 70% de la fuerza de extracción del anclaje mientras la fricción lateral de la sección del anclaje contribuyen 30%-40% de la fuerza de extracción. En términos de fuerzas internas, el refuerzo del anclaje transmite fuerza a la placa de soporte y posteriormente al cuerpo de la lechada. La presión experimentada por el cuerpo del anclaje puede minimizarse con la existencia de pocas placas de soporte con arreglo deslocalizado que incrementa el área total. De esa manera, se previene que la lechada sea aplastada y cause daños parciales.


② Aplicabilidad sólida
El anclaje de dispersión de tensión compresiva tiene características que incluyen velocidad rápida de construcción y una gran capacidad de soporte de fuerza de extracción. Su uso es indicado en arcilla saturada, suelo cohesivo, suelo arenoso, y similares. Además, se puede utilizar ampliamente en proyectos de ingeniería de anclajes, como fosos de cimentación, construcción de estructuras que contrarrestan las fuerzas de levantamiento y soporte de taludes. Resultados estadísticos de proyectos de construcción anteriores: en arcilla saturada, el valor c es de 20kpa, valor Φ cae dentro del rango 12°-14°, fuerza de extracción del anclaje hasta 600-900kN; en resina dura, la fuerza de extracción se incrementa hasta aproximadamente 700-1100kN; en suelos arenosos y acuosos, la fuerza de extracción del anclaje alcanza 600-1200kN.