El anclaje al terreno permanente modelo YX es un tipo de anclaje pretensado adecuado para uso en arcilla, suelo cohesivo, suelo arenoso y otras capas de suelos. Adopta principalmente un método de aspersión rotativa de alta presión para formar una sección de anclaje por ensanchamiento de fondo mediante aspersión rotativa en la placa de soporte del anclaje. Además, las placas de apoyo se distribuyen en la sección de anclaje con ensanchamiento de fondo para realizar la dispersión de la de la tensión interna del anclaje. Así, la fuerza de extracción y su estabilidad se fortalecen lo cual facilita el proceso de integración de perforación, anclaje y lechada. Asimismo, la eficiencia de trabajo puede mejorarse y el progreso acelerarse enormemente.
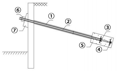
Diagrama esquemático
① Tendón no adherido con cable;
② Segmentos libres;
③ Anclajes de fusión en caliente;
④ Placa de soporte;
⑤ Sección de anclaje;
⑥ Anclaje;
⑦ Placa de base
Pregunta 1: ¿En qué consiste el jet grouting?
Respuesta: El proceso de jet grouting adopta principalmente un método improvisado de aspersión rotativa de alta presión para formar una sección de anclaje por ensanchamiento de fondo mediante aspersión rotativa en la placa de soporte del anclaje.
Pregunta 2: ¿Cuántas estructuras de cable puede formar este producto como máximo?
Respuesta: Utilizando este modelo, se pueden formar 6 cables como máximo donde el diámetro interno más grande de la barra de anclaje es 205mm.
Pregunta 3: ¿Cuántas estructuras de cable puede formar este producto como máximo?
Respuesta: Utilizando este modelo, se pueden formar 5 cables como máximo donde el diámetro interno más grande de la barra de anclaje es 100mm. Si usted desea incrementar la cantidad de cable, por favor consulte la combinación de anclaje de lechada.

Pregunta 4: ¿Este producto es respetuoso con el medio ambiente?
Respuesta: Los materiales utilizados por este anclaje consisten son acero, capas de recubrimiento de los cables de acero en PE y PE resistente. Todos estos materiales no causan ningún impacto negativo en el medio ambiente.
Pregunta 5: ¿Qué tan buena es la resistencia a la corrosión de este producto?
Respuesta: Es manejado por SSPC, tratamiento anti-corrosivo de nivel SP5.
Pregunta 6: ¿Cuál es la medida de entubado que utiliza este producto?
Respuesta: Este producto adopta el proceso de jet grouting para la construcción en lugar del entubado. Para capas de suelo que son demasiado duras e impiden el avance directo, se utiliza una broca de tres alas para hacer los orificios previamente seguidos del proceso jet grouting o inyección de lechada de cemento.
Suzhou NG Foundation Engineering Co., Ltd.
Dirección: F3, No.711, Binhe Road, New District, Suzhou City, Jiangsu Province
Contacto: Zhou Jianming
Fax: +86-512-68093311